R & D

As a technology and innovation leader, Heesemann sets standards in the market and makes a lasting impact on them.

Tradition meets future
For over eight decades, Heesemann has shaped the development of modern sanding technology — with standards that set standards and innovations that point the way forward.
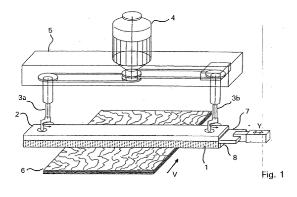
  • Created in over 80 years of company history fundamental and pioneering innovations, which still exist today, such as the pressure bar.
  • In the many years since its founding, our standards used by many manufacturers of sanding machines and we are proud of that!
  • New developments are immediately incorporated into the next generation of machines, so that customers always have best technology available on the market receive and Trust in the future Can.

More than 100 active patents speak for themselves

Research and development at Heesemann.

With investments in research & development, we are leading the field and remain the benchmark for sanding machines.

  • On the one hand, our customers want our solution to be the cheapest. On the other hand, they do not want to miss out on proven Heesemann quality.
  • Acting this balancing act in the interest of our customers is our motivation and drives us every day.
  • The constant search for the best solution for our customers accompanies us from day one, and is one of the reasons to continue investing in new technologies and research & development even in difficult years.

Together with research institutions, we are driving forward the digitization of industrial production.